

5月30日,记者从中国执行信息公开网获悉,因39.09万元的执行标的,永辉超市及其董事长、法人代表张轩松被限制高消费。

根据限制消费令,永辉超市及张轩松被限制高消费的原因是福州市鼓楼区人民法院在5月13日立案执行申请人郑州市唐科废旧物资回收有限公司申请执行永辉超市服务合同纠纷一案,永辉超市未在指定期间履行生效法律文书确定的给付义务。

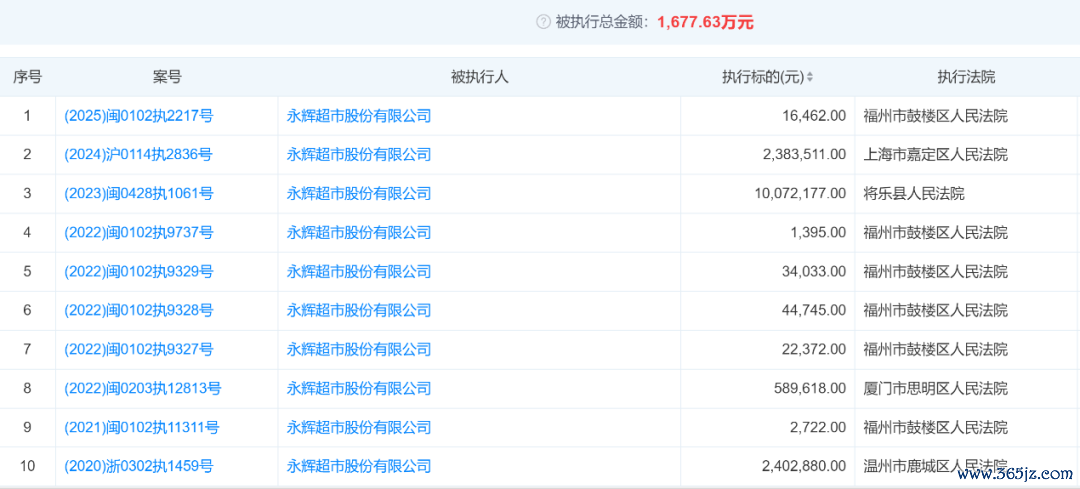
天眼查显示快牛策略,5月13日,永辉超市曾因上述案件被强制执行39.09万元,执行法院为福州市鼓楼区人民法院。截至目前,永辉超市被执行总金额为1677.63万元。

作为被胖东来重点帮扶调改的商超,永辉超市的一举一动都备受资本市场关注。此次因不到40万元的执行标的被限高,也让市场目光再次聚焦到永辉超市的经营业绩。
2024年,永辉超市实现营收675.74亿元,同比下降14.07%;归母净利润亏损14.65亿元,亏损进一步扩大。这也是永辉超市连续第四年出现净利润亏损。2021年至2024年,永辉超市累计亏损超过95亿元。
对于业绩持续亏损原因快牛策略,永辉超市表示,主要是由于零售行业竞争激烈导致门店销售承压;公司进行战略和经营模型转型,在收入下降的同时公司在门店调改过程中优化商品结构和采购模式,在淘汰旧品、引入新品的过程中推动裸价和控后台的策略,导致公司整体毛利率短期受到一定影响。此外,公司对长期亏损或准备闭店门店的相关资产计提减值准备2.08亿元。
2024年5月起,永辉超市启动“学习胖东来”调改项目,倡导“照顾好员工,服务好顾客”,全方位推进门店转型升级。
尽管正经历转型“阵痛”,永辉超市的“胖改”之路仍在继续。
3月17日,永辉超市举行2025年第一次临时股东大会,名创优品董事会主席兼首席执行官叶国富当选新任董事。叶国富透露,永辉超市的门店调改计划为,2025年调改门店达200家左右,计划至2026年完成所有存量门店的调整。
“2025年永辉的关键词是减亏,减亏的主要抓手是‘三提两降’,提人效、提业绩、提毛利,以及降成本、降费用。”叶国富在发言中表示。
据了解,5月30日,永辉超市济南首家“胖改店”开业,全国调改门店数量已达93家,预计7月底将达到150家。
截至5月30日收盘快牛策略,永辉超市股价跌1.58%,收报4.98元/股,总市值为452亿元。
配配查提示:文章来自网络,不代表本站观点。